《彭博商业周刊》基于与多名消息人士的交流报道,Alphabet 现任 CEO Larry Page 正在悄悄开发飞行汽车,其以个人名义投资了两家研发“飞行汽车”的创业公司。
其中一家名为“Zee.Aero”,创建于2010年,该公司成立于 2010年,位于加州山景城,距离谷歌总部不远,目前的员工总数接近 150 人。佩奇已向该公司投入了超过 1 亿美元的个人资金。佩奇还资助了另一家飞行汽车创业公司 Kitty Hawk,佩奇去年开始投资这家公司。彭博社指出,投资这两家公司出于佩奇的个人兴趣。
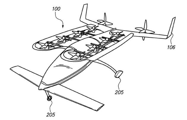
所谓的的飞行汽车,是指既能在空中飞行,也能在陆地上行驶,能从一辆公路汽车变身为一架飞机。
当前,Zee.Aero正在距离谷歌山景城(Mountain View)总部约一小时车程的一个机场测试其“飞行汽车”的原型。Zee.Aero共开发了两款“飞行汽车”原型,其中一种与传统的小型飞机相似,而另一种则在侧面增加了推进器。根据Zee.Aero 2012年提交的一份专利申请文件显示,这种“飞行汽车”能够垂直起飞和降落。
Zee.Aero还请来了多名来自美国国家航空航天局(NASA)、波音公司和SpaceX等公司的航天设计师和工程师。
相比之下,Kitty Hawk开发的“飞行汽车”类似于“大号版”的四旋翼无人机。Kitty Hawk公司比Zee.Aero规模略小,其部分工程师来自AeroVelo公司。2013年,AeroVelo曾因为开发人力直升机而获得“Sikorsky Prize”大奖,赢得25万美元奖金。
除了这两家公司,此前已有许多公司在开发飞行汽车,例如Terrafugia研发的TF-X预计2026年面世;E-volo研发的Volocopter,预计2016年面世;AeroMobil研发的AeroMobil 3.0,预计2018-2019年面世;Moller International研发的Moller Skycar;Lilium Aviation研发的 Lilium Jet,预计2018年上市;Joby Aviation研发的Joby,预计2016年上市。
我是 36 氪汽车记者,欢迎与我切磋讨论。 微信 KatherineLWong
